欢迎来到骏镭(宁波)激光技术有限公司

  • 联系电话:18658209122
产品中心
新闻动态
联系我们

邮箱:

手机:18658209122

电话:18658209122

地址:宁波市海曙区望春工业区布政东路367号

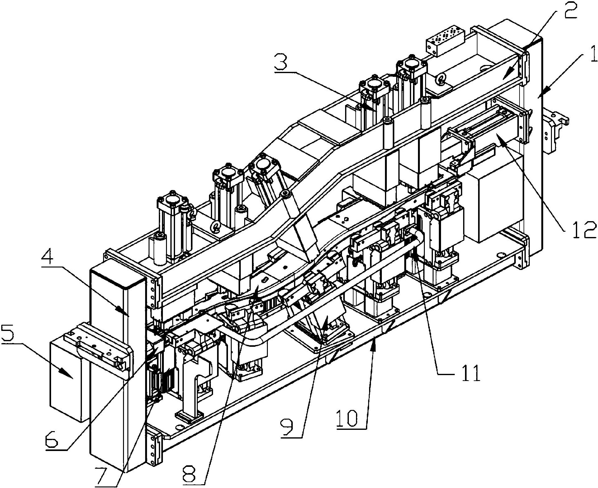
工装夹具定制

品牌:

类别:激光焊接机

根据产品定制工装。

根据产品定制工装。

视频展示
相关产品
X二维码

截屏,微信识别二维码

微信号:

(点击微信号复制,添加好友)

  打开微信

微信号已复制,请打开微信添加咨询详情!